Article
Artificial Intelligence and Drug Development from a patent perspective
Artificial intelligence (AI), like any other previous General Purpose Technology, is pervasive, improves over time and spans complementary innovations.
One of our previous articles dealt with the application of artificial intelligence to predictive maintenance. This subject matter under discussion in the present article concerns a relatively distant field but is of growing interest in the pharmaceutical industry, namely the use of artificial intelligence or machine learning techniques in the field of drug discovery or drug development.
Drug development is the process of bringing a new drug molecule to the market once a lead compound has been identified through the process of drug discovery. Every new drug brought to the market costs typically billions and needs more than 10 years of work. Strategies using AI for facilitating and accelerating the steps of drug discovery or drug development are thus of high interest.
Drug discovery involves many different steps during which targets (genes or proteins that play a significant role in a disease) are identified and molecules are screened through automated tests to find ‘hit’ molecules that fit with the identified target. These hit molecules are evaluated and optimized into ‘lead’ compounds, these leads being then further optimized to improve activity on the targets, pharmacokinetics properties, and/or reduce side effects.
The drug development process starts after at least one lead compound has been identified during the drug discovery process. This process includes preclinical research on cellular assays and animal models, and three phases of clinical trials on humans. On the first phase, the drug is tested on a few healthy volunteers whereas on the second and third phases, trials are performed on larger groups of patients to assess efficacy and safety of the drug in human.
After the drug has been put on the market, manufacturer, health professional and consumers report any problem with the approved drug during a post-market monitoring phase.
Artificial intelligence has already been used for accelerating, improving and facilitating each step of the drug discovery and development process.
Machine learning algorithms can participate to drug discovery by mining the “omics” (e.g. genomics, transcriptomics, proteomics, metabolomics) during target identification, discovering small molecules as hits for a specified target, developing quantitative structure-activity relationship models when optimizing lead structure in order to improve bioactivity, or analyzing assays results.
Such algorithms can also be used in drug development steps by processing large amount of real-world data (data extracted from patient surveys, clinical trials or observational cohort studies for example) or predicting the risk of disease progression and response to treatment.
Although mathematic methods or computer programs are not patentable as such in Europe, their application to a specific field or their technical implementation may be patentable as it can contribute to produce a technical effect that serves a technical purpose.
Such inventions based on application or implemented of said algorithms might be protected by filing patent applications.
Below are presented some examples of patents or patent applications that have been granted or published recently for inventions related to drug discovery or drug development.
International patent application WO 2020/058174 A1 in the name of Deepmind
DeepMind is a subsidiary of Google dedicated to Artificial Intelligence. At the end of 2018, DeepMind presented its solution called Alphafold for protein folding problem, allowing to predict the shape of a protein from its amino acid sequence. This algorithm has been improved and renamed Alphafold 2 and showed excellent performances at the end of 2020, during the 14th edition of an international competition called CASP.
Prediction of the structure of a protein is of particular relevance in drug discovery as the function of a protein largely depends on its unique 3D structure.
The international PCT application 2020/058174 is claiming a priority date of 21 September 2018 (the year of the first version of Alphafold) and has been published in March 2020.
The main claim is directed to a method for determining a final predicted structure of a given protein, said protein comprising a sequence of amino acids. The method comprises steps during which quality scores are calculated for different predicted structures of said protein, based on neural networks evaluating and updating structure parameters of said proteins. A particular predicted structure of the given protein can then be selected as the final predicted structure of the said protein.

This patent application is still pending as it is very recent and has not been granted yet.
European patent EP 2 241 335 B1 in the name of Biodesix
In this patent, granted on February 27, 2019, the invention relates to a method for determining whether a patient will respond to a treatment by testing the patient’s biomarkers by mass spectroscopy. Biomarkers are measurable indicators of some biological state or condition and are measured and evaluated using blood, urine or soft tissues samples.
To overcome the problem of the low rates of treatment success using drugs, the invention provides a diagnostic test to determine whether a patient will respond to these drug treatments.
A test spectrum is produced by a mass spectrometer from a serum produced from a patient having a disease.
The test spectrum is processed with a machine learning algorithm, for example Support Vector Machine, to determine if said spectrum is or not similar to a class of other spectra obtained from patients having a same or similar clinical stage disease and known to have responded to or not responded to a drug or treatment.
Based on the result of this comparison, it can be determined if the patient will be responsive to the drug or treatment.

Such algorithm may therefore be used to identify novel biomakers for patent stratification.
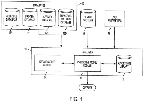
European patent EP 3 140 763 B1 in the name of Atomwise
This patent has been granted on May 2020 and is related to a system for predicting binding affinity of one molecule to one target protein.
Binding affinity prediction is a fundamental tool in drug discovery as such binding depends on numerous factors and the interactions between molecules and proteins are not always well understood.
The main claim of this patent is directed to a system for predicting binding affinity of a molecule to a target protein. The system comprises an encoder module configured to encode data relating to a molecule and a target protein, and a prediction module configured to apply a predictive model to the encoded data to generate an indicator of a binding affinity for said molecule to said target protein.

As mentioned in this patent, the method can be applied to many different applications in drug discovery or drug development.
Perspective
The use of artificial intelligence in the field of drug development is a relatively recent and fast-growing field, taking advantage of the large volume of available data and of the continuous development of the machine learning algorithms.
The above-mentioned patent or patent applications constitute only a few examples concerning some of the applications of artificial intelligence, and more specifically machine learning, to this technical field.
Following the initiated trend, it is to be predicted that the number of inventions and patents or patent applications in this field will increase in the next years, also bringing into light new player or fostering new collaborations between companies.
Plasseraud IP can assist you in your patent applications in France and around the world.
