Články
Artificial Intelligence, Predictive Maintenance and Patents
From the article "Computing Machinery and Intelligence", written by Alan Turing in 1950, to the latest models of language representation (BERT, GPT-3), Artificial Intelligence has benefited in recent years from the abundance of available data, the increase in computing capacity and the development of ever more powerful algorithms that allow tasks normally reserved for humans to be performed by learning from data, without being explicitly programmed for these tasks.
Artificial Intelligence, and in particular Machine Learning, is currently illustrated through numerous applications. Among the best known are autonomous vehicles, robotics, medical imaging or recommender systems.
Other fields of application are less publicized but are nevertheless of paramount importance in the transformation of the industry. We will focus on one of them: predictive maintenance.
After having clarified the objective of predictive maintenance and introduced the way such maintenance can be implemented, we will look at its protection by patent, giving some examples of patents in this field and indicating some pitfalls to avoid when preparing the information to be gathered in order to consider filing a patent application.
1. Objectives of predictive maintenance
Different types of maintenance can be implemented by companies. The most classic of these is corrective maintenance, which aims to replace parts as they generate a breakdown. Corrective maintenance ensures that system parts are used until their end of life, but costs the company downtime, manpower and generates unplanned maintenance operations.
In order to compensate for these disadvantages, preventive maintenance can be performed. The service life of a part is then determined beforehand, and the part is replaced before its end of life in order to avoid a breakdown. Preventive maintenance avoids unforeseen breakdowns but generates costs due to the under-use of parts.
Predictive maintenance aims to maximize the time of use of parts while avoiding the occurrence of breakdowns. Predictive maintenance helps to limit costs and increase the availability of the system or equipment by limiting and planning maintenance operations at the most opportune moment.
2. Implementation
In the past, such failure predictions were usually made with the help of expert systems that collected data and were capable of alerting an operator based on rules that were explicitly programmed to mimic the decision-making process of a human expert.
With the rise of machine learning, predictive maintenance gradually turned to new algorithms for its implementation.
These require us to provide them with data, which must first be selected and collected. This data can for example come from vibration analysis, sound or ultrasound analysis, current analysis or images obtained by infrared thermography. This data also includes information, called labels, about malfunctions or failures that may occur, and which represent the result of the prediction.
The collection of data, typically from sensors, has been facilitated by the recent growth of connected objects and the IoT (Internet of Things), as well as the development of new data management tools.
These collected data are used, usually during a so-called supervised learning step, to train a model. This pre-trained model is then used to generate failure predictions from new data that has not been used for training: this is the inference stage.

Learning algorithms used for predictive maintenance are generally classified into two categories:
- regression algorithms, where the prediction obtained is, for example, an indicative number of the remaining service life of a part or system, i.e. the length of time the part or system remains operational until the next failure,
- classification algorithms, which can be used, among other things, to predict the most likely cause of a device failure.
3. Patents in the field of predictive maintenance
The implementation of predictive maintenance gives companies competitive advantages, which has to be protected, in particular through the filing of patent applications.
Pioneering companies in that field have understood this and we can see a significant increase in the number of patent applications in this field.
The diagram below illustrates for example the evolution of the number of patent applications filed per year for the only class G05B-023/0283, which is one of the classes related to the field of predictive maintenance.
We can see a clear evolution from 2009, this evolution being notably driven by the democratization of machine learning, and more particularly by the development of Deep Learning.
The following diagram represents the main patent applicants or patent owners within the class mentioned above.
We note that companies linked to the aeronautics industry (SAFRAN, GENERAL ELECTRIC, BOEING, HONEYWELL) are very active. However, a closer analysis shows that predictive maintenance has been introduced in all sectors of activity, from the elevator industry to the automotive field.
Below are a few examples of European patents relating to predictive maintenance and implementing maching learning techniques.
- European Patent EP 3 379 360 B1- Priority date: March 23, 2017– Anomaly detection system and anomaly detection method - HITACHI LTD
Claim 1
An anomaly detection system (1) comprising an arithmetic device (11-13) that is configured to execute:
- processing of learning a predictive model that predicts a behavior of a monitoring target device based on operational data on the monitoring target device,
- processing of adjusting an anomaly score such that the anomaly score for operational data under normal operation falls within a predetermined range, the anomaly score being based on a deviation of the operational data acquired from the monitoring target device from a prediction result obtained by the predictive model,
- processing of detecting an anomaly or a sign of an anomaly based on the adjusted anomaly score, and
- processing of displaying information on at least one of the anomaly score and a result of the detection on an output device (1H107); characterised in that, as the anomaly score, the arithmetic device uses a reconstruction error for a prediction error of the predictive model with respect to the operational data under normal operation.

If the mere reading of the claim may seem complex, it should be understood that the claimed system does not only compare the data obtained in real time from the system with predicted data (predicted error sequence), i.e. comparing the actual behavior of the system with predicted normal behavior. Indeed, the system takes into account variations that may occur during operation (noise) by using a reconstruction model of the auto-encoder type for example.
The general principle of an auto-encoder is illustrated in the figure below. Such model learns a representation (encoding) of a set of data, by reducing the dimension of this set, and then reconstructs the data (decoding) from this representation, which in practice reduces the noise in the reconstructed data.

The system then determines the difference between the predicted error sequence and the reconstructed error sequence using the reconstruction model. In this way, the system avoids false anomaly detections based on abnormal variations due to noise.
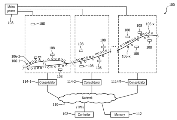
- European Patent EP 3 114 906 B1- Priority date: March 6, 2014- Intelligent lighting system with predictive maintenance scheduling and method of operation thereof - PHILIPS LIGHTING B.V.
Claim 1
A lighting system (100), comprising:
at least one controller (102, 610) which is configured to:
- obtain lighting logging data comprising feature information related to features of the lighting system and obtained from a plurality of information sources;
- derive, by performing a complex feature extraction process, at least one complex feature from the lighting logging data to predict at least one component failure in the lighting system at a future time;
- select logging data from the plurality of information sources to calculate the predicted component failure;
- model predicted component failure in accordance with at least one complex feature; and
- store the model in a memory (112, 620),
wherein the lighting system further comprises a plurality of lamps (106-x), and the modeled predicted component failures comprise predicted lamp failures of two or more lamps of the plurality of lamps and corresponding predicted failure times, characterized in that the controller is further configured to form a cluster of at least two of the predicted lamp failures in accordance with geophysical locations and predicted failure times of corresponding lamps, and in that the controller is further configured to schedule maintenance to replace the lamps of the cluster at a determined time that is determined to be optimal with respect to the cluster.
The purpose of the invention covered by this patent is to facilitate the maintenance of lamps, particularly for public lighting. A model is used to detect whether possible failures will occur on lamps located geographically close to each other, so as to facilitate the grouping of maintenance operations at opportune times.
We can see that, despite the abstract nature of the use of a machine learning algorithm, such a use allows a concrete implementation by indicating to an intervention team the relevant and optimal moment to be able to maintain or replace several lamps, in a grouped way and not in an isolated way as it was the case in the prior art. The European Patent Office has most likely considered this practical advantage in order to acknowledge the inventive step, which has led to the grant of the patent.
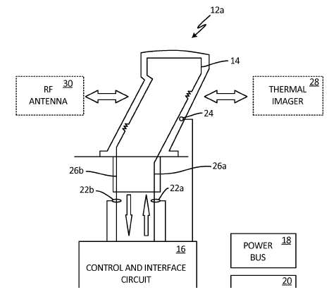
- European Patent EP 3 379 265 B1- Priority date: March 24, 2017– Probe heater remaining useful life determination - ROSEMOUNT AEROSPACE INC.
Claim 1
A system comprising:
- an aircraft (10);
- a probe (12) that includes a heater comprising a resistive heating element routed through the probe (12), wherein an operational voltage is provided to the resistive heating element (14) to provide heating for the probe (12); characterised by comprising
- a radio frequency (RF) antenna (30) configured to provide to the probe (12) a radio-frequency (RF) signal that comprises a plurality of signal frequencies; and
- a control circuit (16) configured to determine a resonant frequency from the resistive heating element (14) in response to the plurality of signal frequencies and determine a remaining useful life of the probe (12) based on the response of the resistive heating element (14) to the RF signal over time.
The invention relates here to a system for an aircraft, comprising a probe that must be protected against the accumulation of ice. For this purpose, the probe is equipped with a resistive heating element that tends to degrade over time, due in particular to thermal and mechanical stresses in operation. The degradation of the heating element can be measured by determining its resonance frequency. This element is thus subjected to a radio frequency signal and its resonance frequency is detected. The remaining service life of the probe is then determined on the basis of the evolution of this resonance frequency, in particular with the help of a machine learning algorithm.
Here, the inventive step is ensured by a combination of several elements: the choice of the resonance frequency parameter, the technical means to measure this resonance frequency, and the application of a model to process the obtained data in order to deduce the lifetime of the probe. These different elements, taken in combination, make it possible to obtain a significant improvement compared to the prior art.
4. Some pitfalls to avoid
When aiming at protecting an invention in the field of preventive maintenance, or more generally in the field of machine learning, some pitfalls should be avoided.
- Providing too few information on the implemented algorithms
When drafting such a patent application, the writer should be provided with as much information as possible about the algorithms that are implemented. Indeed, an invention shall be presented in a sufficiently clear and complete manner for a person skilled in the art to be able to execute it.
This requires the drafter to spend time understanding the invention, to have access to the right interlocutors, and to have a good understanding of the technical field in order to be relevant in its drafting.
Specifying the type of algorithm used and allowing for a significant improvement in the results compared to the prior art can also be useful information to convince an examiner of the inventive step of the invention. In addition to the type of algorithm, it may also be useful to specify the implementation of training and inference phases of the model as well as the type of data provided, the processing steps carried out on this data (e.g. data cleaning, data augmentation) or the choice of relevant features (e.g. feature engineering) to be used by the model.
- Simply applying an artificial intelligence algorithm to an already known process, without any significant technical improvement
Following the democratization of artificial intelligence, we have observed a wave of patent applications concerning the application of a known artificial intelligence technique to a process classically carried out using an older method.
It was then sometimes difficult to prove that the use of artificial intelligence produces results with significantly increased accuracy or unexpected effects such as the possibility of performing a task that was inaccessible using other methods, thus reducing the chances of obtaining a patent.
In addition, general knowledge about artificial intelligence is no longer limited to experienced data scientists since the entire scientific community has a natural incentive to turn to these techniques for the automation of a wide variety of tasks.
At present, we note that difficulties may arise during the substantive examination of a patent application if its subject matter boils down to the simple transposition of a known artificial intelligence algorithm from one application to another, in particular when this algorithm is intended to perform similar tasks (image classification, for example) in both cases. In order to convince an office, it is necessary to be able to justify a significant contribution thanks to the use of the algorithm in the targeted application. This contribution cannot only be summed up as a greater reliability or a higher processing speed of the machine compared to a human. Typically, depending on the usual position of the EPO, an additional technical effect is required in the intended application. This requirement was already present for the patentability of computer-implemented inventions. The present use of artificial intelligence does not, however, change the way the applications are examined.
On the contrary, it seems possible to protect the implementation of a machine learning algorithm when used in combination with other elements, such as specific technical parameters (the resonance frequency in the previous example), a particular selection of features used for the implementation of the algorithm, or new physical means (specific sensors, particular processor architecture, etc.).
- Ignoring data protection
When carrying out a machine learning project, most of the effort involved is in the collection and processing of data. The creation of a correctly structured database with data of sufficient quality is a major asset for obtaining a model capable of meeting expectations and putting it into production.
Therefore, it is necessary to determine to what extent the database may be protected as well.
Conclusion
The common patentability criteria, in particular those related to computer-implemented inventions, remain applicable to inventions in the field of Artificial Intelligence, especially for inventions related to predictive maintenance.
Nevertheless, a good understanding of the field is necessary to methodically apprehend the various legal and technical particularities of those inventions.
Plasseraud IP, with its multidisciplinary team, is able to advise you on these different aspects of protection in the area of AI. Our team includes in particular senior Patent attorneys experienced in drafting and defending patents linked to Artificial Intelligence, including predictive maintenance.
Plasseraud IP Patents is at your disposal for any question on the subject.


